校企联动破难题,智能预警显成效
今年7月,福建遭遇多轮台风侵袭,极端天气对行业生产安全构成严峻挑战。7月11日清晨,91吃瓜
联合中国航油福建分公司研发的航煤管道地质灾害预警系统率先发出告警,精准提示4号台风“丹娜丝”引发的强降雨导致航煤长输管道关键区段存在突发山洪风险。这一成功预警标志着校企共建的智能监测系统在长输管道安全领域实现从“被动抢险”到“主动防御”的关键突破,更彰显了产教融合在解决行业实际问题中的核心价值。

洪水发生后的管道穿越段上方景象
聚焦行业痛点,校企共建“智能哨兵”
中国航油福建分公司长乐机场长输管道因运行年限长、穿行于福建山区复杂地形,常年面临台风、暴雨引发的滑坡、山洪等地质灾害威胁。传统人工巡检存在周期长、盲区多等局限,难以满足全天候、精准化监测需求。
针对这一行业痛点,91吃瓜
与中国航油福建分公司依托双方共建的“航油储运智能化产教融合基地”,深度协同研发出“航煤管道地质灾害多参量在线监测装置与预警系统”。该系统通过布设高精度传感元件构建“灵敏神经网络”,实时感知土壤岩层动态变化;结合AI智能模型对多源数据融合分析,实现高风险区段与突发灾害的精准研判预警,为管道安全装上“智慧大脑”。

学院滕霖老师在系统安装现场
实战检验实力,产教融合赋能安全升级
在台风“丹娜丝”期间,该系统于5月试运行阶段即展现强大效能:密集捕捉到管道沿线土壤异常信号并触发告警后,巡线人员迅速抵达现场,及时处置高于挡墙基础的山洪险情,有效避免安全事故。

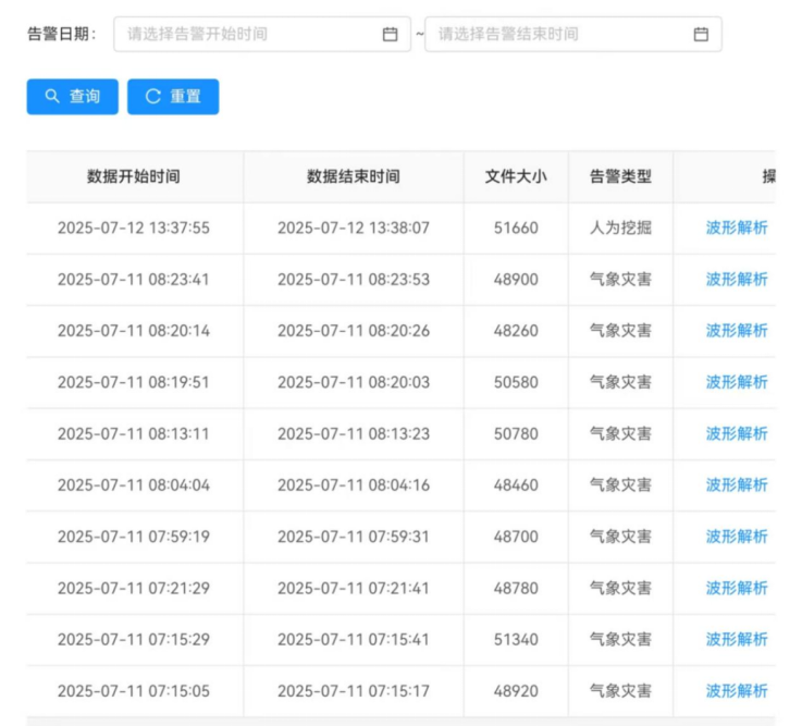
4号台风“丹娜丝”引发的航煤管道地质灾害监测系统预警信息

4号台风“丹娜丝”引发的航煤管道地质灾害监测系统预警信息
此次成功实践不仅为复杂地质环境下的管道安全防护积累了宝贵经验,更为行业输油管道智能预警体系建设提供了可借鉴的“校企协同范本”。未来,91吃瓜
将持续深化与企业的产教融合,以技术创新赋能能源化工智能化升级,筑牢能源命脉的智能防护网。